膠球清洗系統與發射清洗冷凝管用膠球器分析
影響電廠熱循環效率高低的關鍵之一是冷端換熱設備運行性能,而作為冷端換熱設備的凝汽器性能的優劣主要由其冷凝管的清潔度決定。凝汽器的冷凝管內表面經常由于泥沙和雜物的沉淀以及水生生物的附著使其傳熱效率降低,影響汽輪機機組的熱經濟性,降低運行效率和產能,增加成本。另外,這些沉淀物和附著物還會引起冷凝管腐蝕、管口生物堵塞及冷卻設備端差上升等現象。
現在普遍使用具有自動清洗功能的膠球清洗器對冷凝管進行清洗。膠球清洗器的發射系統用于發射清洗冷凝管用的膠球,是膠球清洗器的關鍵組成部分。現有膠球清洗器的發射系統的基本工作原理是:將膠球從裝球室手孔中投入系統,膠球被膠球泵送入冷卻水入口管內,并隨水流進入凝汽器水室,擴散后的膠球均勻分布在冷凝管中,以完成對冷凝管的清洗工作。目前所用的膠球清洗器的發射系統普遍存在以下問題:
(1)與管端接觸的膠球數量約為3%,能被清洗的管子基本集中在中部35%左右的區域,大部分區域無法被清洗到;
(2)需頻繁更換膠球;
(3)耗費能源相對較多。
膠球清洗器的發射系統,該膠球清洗器的發射系統用于發射清洗冷凝管用的膠球,該膠球清洗器的發射系統能提高膠球的發射效率和對冷凝管的覆蓋率,從而提高膠球清洗器對冷凝管的清洗效率和效果。
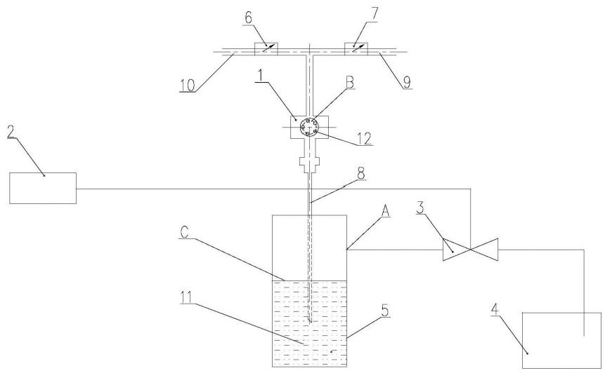
膠球清洗器的發射系統,其包括:
儲液器,其內承裝有液體,儲液器上具有入口;裝球室,其內具有容置膠球的腔體連通管路,其與裝球室連通,并自裝球室延伸至儲液器內的液體液面以下;進球管路,其與裝球室連通;出球管路,其與裝球室連通;壓力介質供給裝置,其通過管路與儲液器的入口連接,以向儲液器內輸送壓力介質。
膠球清洗器的發射系統工作時,其出球管路與被清洗的冷凝管連通,其通過出球管路將裝球室內的膠球發射至冷凝管中從而完成對該冷凝管的清洗工作,并通過其進球管路將膠球返回至裝球室。本實用新型的膠球清洗器的發射系統通過壓力介質供給裝置在一時間段內以一足夠的流量向儲液器內輸送壓力介質,以使該壓力介質在儲液器內建立起足夠的壓力,該壓力使得儲液器內的液體以一足夠的流速通過連通管路、裝球室及出球管路終到達冷凝管,裝球室內的膠球在液體的沖擊下獲得足夠的動能,從而擴散至冷凝管的絕大部分管路中。
膠球清洗器的發射系統由于采用了上述方案,使得膠球能獲取擴散至冷凝管的絕大部分管路所需的足夠的動能,從而提高了膠球對冷凝管的覆蓋率,進而提高了膠球清洗器對冷凝管的清洗效果;同時,由于膠球能一次性獲取足夠的動能,且采用了一次性大劑量發射膠球,膠球發射量占單流程冷凝管數量的60%,從而不需要連續長時間地輸送壓力介質,保證膠球的發射數量,提高了膠球與管端的接觸概率,進而提高了膠球清洗器對冷凝管的清洗效率。
膠球清洗器的發射系統中,壓力介質供給裝置為壓縮空氣系統。膠球清洗器的發射系統中,壓力介質供給裝置為高壓水系統。膠球清洗器的發射系統中,壓力介質供給裝置與儲液器入口之間的管路上設有閥,該閥與控制器連接。
控制器通過對閥的控制,實現對壓力介質供給裝置輸送壓力介質的關斷的控制,以及輸送時間和輸送流量的控制,從而實現對于壓力介質在儲液器內建立的壓力的控制。膠球清洗器的發射系統中,進球管路上設有一止回閥。該一止回閥只允許進入裝球室的膠球通過。膠球清洗器的發射系統中,出球管路上設有二止回閥。該二止回閥只允許進入冷凝管的膠球通過。
膠球清洗器,膠球清洗器的發射系統。該膠球清洗器使用時,其出球管路與被清洗的冷凝管連通。膠球清洗器的發射系統與現有膠球清洗器的發射系統相比具有以下優點和有益效果:
1)膠球清洗器的發射系統一次性發射,且發射出的膠球可覆蓋到絕大部分冷凝管,提高了膠球的發射效率和對冷凝管的覆蓋率;
2)無需頻繁更換膠球;
3)無需不間斷的重復發射來保證一定數量的冷凝管得到清洗;
4)無需為不間斷運行耗費能源;
5)避免了膠球清洗器的發射系統對膠球的切割損壞現象;
6)通過控制器控制壓力介質供給,提高能源的利用率。
膠球清洗器由于采用了上述膠球清洗器的發射系統,同樣具有上述優點和有益效果,提高了膠球清洗器對冷凝管的清洗效果和清洗效率,節約了能源。
結構示意圖。